

CSS対応ブラウザでご覧下さい

| ■概要 |
|---|
| DASmini-E2000シリーズは、ノートパソコンと接続し、ポータブルな計測システムを実現します。 音、振動をはじめ、温度、圧力など各種のセンサーからのアナログ信号のデータ収集、計測、及び外部に対してアナログ信号による波形出力、制御をパソコンを使用して簡単にできます。 車載計測をはじめ、現場に持ち込んでの計測によるフィールドワークなどポータブルユースやパソコン対応の計測ニーズに応える目的でDASminiシリーズを開発してきました。今回の E2000シリーズは新に内部構造を汎用的にする事により、外部入出力にAD・DAはもちろんの事、DI・DO・PIをオプションにて増設でき、外部入出力に対してのコンディショニングを行うための、AF(アンプ・フィルタ)の組み込みも可能となりました。 騒音・振動解析、音声分析、AV機器開発・評価、メカトロニクス・ロボット、自動車・航空機関連、環境分析処理等FA・LAのあらゆる広範囲な分野においてネットワーク上でオープンなデータ収集・解析システムを構築する事ができます。 |
| ■特長 | |
|---|---|
|
|
■最先端計測に挑む、信頼のインタフェース・テクノロジ |
|
|---|---|
| ■多現象同時計測に適した、全チャンネル同時サンプリング方式。 アナログ信号入力は、サンプリングクロックにより全チャンネルの同時サンプリングを行い、チャンネル間の位相差のないデータ収集が可能です。各チャンネル独立したAD変換器でサンプリングを行う方式であり計測チャンネルの増加に伴う最高サンプリング速度低下の改善を図っています。 |
■16〜24ビットの高速・高精度AD変換器を採用。 AD変換器は、分解能12、16、24ビットの3種を用意しています。又、最高サンプリングスピードは40kHz〜300kHzとユーザーの使用目的に合わせ最適な選択ができるよう各種の製品を備えています。 |
| ■ Ethernetインタフェースによるネットワーク環境下でのオンラインデータ収集。 世界標準であるEthernetによりネットワーク環境下でオンラインデータ収集制御を可能にします。Ethernetを採用することで、WSやPCに標準インタフェースとして装備されているオープンな環境を利用でき用意にシステムを構築することができます。
|
■
ユーザープログラムとリンクが容易な基本サブルーチンプログラムを提供。 条件設定やコマンド指令は、すべてホストCPUからのプログラマブル方式によって行なわれます。 |
| ■
多彩な計測モードをサポート。 ソフトウェアによるノントリガモード、トリガ信号によるトリガモード、ポストトリガモード、プリトリガモードが可能です。トリガソースは、外部信号トリガ(標準)の他に入力信号トリガ(オプション)も可能です。 |
■
サンプリングクロックコントロール タイムベースに8MHz(時間軸分析用)、8.192MHz(周波数軸分析用)、6.144MHz・5.6448MHz(デジタルオーディオ用)の水晶発信子を内蔵し、分析目的に合わせさて最適なサンプリングクロックが使用できます。さらに、サンプリングクロックはプログラマブルにより各ベースクロックを32ビットカウンタで分周して発生させますので、最大サンプリング周波数〜約0.002Hz(各ベースクロックのタップで分周)の広範囲な設定が可能です。 |
| ■ FIFOバッファメモリ
|
|
| ■フロントパネル | |
|---|---|
|
|
| (1)アナログ入出力コネクタ(1〜8) ADの入力又はDAの出力コネクタで、Model-**08,**16−AD及びModel−**08, **16−DAはコネクタ番号がチャンネル番号に対応し、Model-1608−AD/DAはADの1〜8チャンネルに対応します。 |
(2)アナログ入出力コネクタ 9/1〜16/8 ADの入力又はDAの出力コネクタで、Model-**08, **16−AD及びModel-**08,**16−DAは左のコネクタ番号がチャンネル番号に対応し、Model-**08−AD/DAは右のコネクタ番号がDAの1〜8チャンネルに対応します |
| (3)CLK IN 外部サンプリングクロック入力として使用します。TTLレベル入力で、クロックの立ち上がりに同期してサンプリングを行います。 |
(4)CLK OUT サンプリングクロックが出力されます。計測中の時にサンプリングクロックと同期したパルスを出力します。TTLレベル出力で、正論理約500nSECのパルスを出力します。 |
| (5)TRIG IN トリガを使用するモードの時有効となり、外部トリガ信号入力でAD入力と同様のアナログ入力です。トリガレベルは、ホストコンピュータから入力レベルに対して128分割単位で設定可能です。 |
(6)TRIG OUT トリガを使用するモードの時有効となり、内部でトリガを感知した事を知らせる信号です。 通常マスタのDASminiのTRIGOUT信号を2台目以降TRIGIN信号に接続すれば、複数台のプリトリガモードの同期計測が可能となります。TTLレベルで、正論理のレベル出力(トリガ感知時“H”)です。計測終了時に”L”レベルに戻ります。 |
| (7)Condition LED このLEDは、電源投入時のDASminiセルフチェック結果の表示及び通常の動作状態を示します。 ・電源投入時は緑色の点滅を行い、ホストI/F(LAN)の準備が完了した時点で緑色の点灯となります。(但し、セルフチェックエラーが発生した場合は、緑色の点灯とならずに、セルフチェックエラー表示となります。) ・電源投入時のセルフチェック 緑色点灯――――― 正常終了 赤色と緑色の点滅−−セルフチェックエラー (詳しくは、セルフチェック機能説明を参照してください。) ・通常の動作状態表示 緑色点灯−− レディー状態 橙色点灯−− ラン状態(サンプリング動作中) 赤色点灯−− エラー状態(ラン状態時、何らかのエラーが発生し、動作を中止した場合) |
(8) Trigger LED(トリガステータス表示LED) このLEDは、サンプルモード指定により表示する内容が変わります。電源投入時は消灯しています。 ・ノーマルモード時 橙色点灯−−内部FIFOメモリがエンプティになった時に、200mSECの間点灯します。サンプリング中にホスト転送を行う場合、ホスト転送スピードがサンプルデータ速度(チャンネル×サンプルクロック)より速い場合は、連続点灯状態となります。 ・トリガ、リトリガ、プリトリガ、ポストトリガモードの時 緑色点灯−−トリガを使用するモードを指定すると点灯します。スタートコマンドを受信した後、トリガを検出すると消灯し、サンプリングが終了すると、再度点灯します。 |
| (9)拡張用パネル オプションにて、DI(デジタルイン)/DO(デジタルアウト)等を追加する場合に使用します |
|
| ■リアパネル | |
|---|---|
|
|
| (1)CONSOLE RS232Cポートでメンテナンス用に使用します。 |
(2)LAN(100BASE−TXコネクタ) 100BASE−TXケーブルを使用し、ホストコンピュータと接続します。 通常、PCとはクロスケーブルで接続します。 |
| (3)POWER 電源スイッチです。 |
(4)AUX2(FCLK) フィルタ機能付きのモデルの場合、カットオフ周波数の外部クロック入力コネクタとなります。 |
| (5)拡張用BNCコネクタ 特注にて、入出力制御信号を追加する場合に使用します。(6)FAN 冷却用のFAN。 |
(7)アース端子 接地用の端子です。 |
| (8)DCIN(電源入力) DC+12V(9.2V〜16Vの変動範囲)を接続します。 |
|
| ■共通仕様 | ||
|---|---|---|
| 動作設定 | プログラマブル | |
| 動作モード | AD動作モード | ノーマルモード トリガモード リトリガモード プリトリガモード ポストトリガモード |
| DA動作モード | ノーマルモード トリガモード リトリガモード サイクルモード サイクルトリガモード サイクルリトリガモード |
|
| チャンネル設定方式 | ランダム指定 | |
| サンプリング機能 | タイムベース | 内部: 8.0000MHz, 8.1920MHz, 6.1440MHz, 5.6448MHz 外部: |
| クロック設定 | 32ビットカウンタで分周して設定 | |
| 最大サンプリング数 | 無限,1Gサンプル/フレーム | |
| クロック出力 | サンプリングクロックの同期信号を出力 | |
| トリガ機能 | トリガソース | 外部信号トリガ(標準) 入力信号トリガ(オプション) |
| チャンネル数 | 1チャンネル | |
| 信号形式 | シングルエンド | |
| 入力電圧 | ±5V | |
| 入力インピーダンス | 1Mオーム | |
| トリガスロープ | 立ち上がり、立ち下がり | |
| トリガレベル | ±5Vを128分割 | |
| トリガモード | トリガ リトリガ プリトリガ ポストトリガ |
|
| データバッファメモリ | FIFO方式 | 4Mワード(標準) (16Mワードオプションあり) |
| データ形式 | 2'sコンプリメント | |
| アナログ入出力形式 | シングルエンド | |
| アナログ入出力コネクタ | BNCコネクタ | |
| ホストコンピュータインタフェース | Ethernet(TCP/IP)、10BASE-T/100BASE-TX) | |
| ■一般仕様 | |
|---|---|
| 形状 (高)x(幅)x(奥行) [mm] | 75 x 320 x 260 (突起部を除く) |
| 重量 | 約4〜5kg |
| 供給電源 | DC +12V 5A |
| 電圧変動範囲 | +9.2V 〜 +16V |
| 使用環境 | 周囲温度: 0℃〜45℃ 湿度 : 20% 〜 85% (但し、結露なきこと) |
| 保存環境 | 周囲温度:-10℃〜60℃ 湿度 : 20% 〜 85% (但し、結露なきこと) |
| ■モデル名 |
|---|
![]() |
| ■モデル別仕様〜AD変換器 | ||||||
|---|---|---|---|---|---|---|
モデル名 |
1608-40K-AD | 1616-40K-AD | 1608-100K-AD | 1616-100K-AD | ||
仕様 |
||||||
AD |
入力チャンネル数 | 8CH | 16CH | 8CH | 16CH | |
| 入力電圧 | ±5V(オプションで±10V指定可) |
|||||
| 入力インピーダンス | 1Mオーム以上 |
|||||
| AD変換分解能 |
|
16ビット | ||||
| 最高サンプリング周波数 | 40KHz | 100KHz | ||||
| ■モデル別仕様〜DA変換器,AD/DA変換器 | ||||
|---|---|---|---|---|
モデル名 |
1608-100K-DA | 1608-100K-DA | 1608-100K-AD/DA | |
| 仕様 | ||||
AD |
入力チャンネル数 | − | − | 8CH |
| 入力電圧 | − | − | ±5V(オプションで±10V指定可) | |
| 入力インピーダンス | − | − | 1Mオーム以上 | |
| AD変換分解能 | − | − | 16ビット | |
| 最高サンプリング周波数 | − | − | 100KHz | |
DA |
出力チャンネル数 | 8CH | 16CH | 8CH |
| 出力電圧 | ±5V(オプションで±10V指定可) |
|||
| 出力インピーダンス | 50オーム以下 |
|||
| DA変換分解能 | 16ビット |
|||
| セットリング時間 | 8uSEC | |||
| ■モデル別仕様〜24ビットタイプ | ||||||
|---|---|---|---|---|---|---|
モデル名 |
2408-100K-AD | 2416-100K-AD | 2408-100K-AD/DA | 2408-200K-DA | 2416-200K-DA | |
| 仕様 | ||||||
| AD | 入力チャンネル数 | 8CH | 16CH | 8CH | − | |
| 入力電圧 | ±5V | − | ||||
| 入力インピーダンス | 1Mオーム以上 | − | ||||
| AD変換分解能 | 24ビット(16ビットモードあり) | − | ||||
| AD変換方式 | 刄ー方式 | − | ||||
| 最高サンプリング周波数 | 100KHz | − | ||||
| DA | 出力チャンネル数 | − | − | 8CH | 8CH | 16CH |
| 出力電圧 | − | − | ±5V(オプション±10V) | |||
| 出力インピーダンス | − | − | 50オーム(通電時) | |||
| DA変換分解能 | − | − | 24ビット(16ビットモードあり) | |||
| DA変換方式 | − | − | 刄ー方式 | |||
| 最高サンプリング周波数 | − | − | 192KHz | |||
| ■アンプフィルタ仕様 | |
|---|---|
| 入力インピーダンス | 1Mオーム |
| 入力カップリング | DC,AC,ICP,GND |
| 利得(倍) | 0.5、1、2、4、8、16、32、64 |
| フィルタ特性 | カウェル |
| ローパスフィルタ遮断周波数(Hz) | 10、20、50、100、200、500、1K、2K、5K、10K、20K、25K、EXT、スルー |
| 最小減衰量(TYP)、減衰傾度 | 80dB、 80dB/oct |
| 入出力絶縁 | 非絶縁 |
| 動作設定 | プログラマブル |
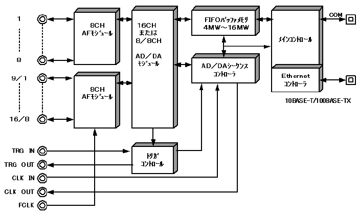
| ■ブロック図 |
|---|
![]() |